本發明公開的雙軸線陣相機拍照方法,其用于雙軸線陣相機拍照系統,雙軸線陣相機拍照系統包括伺服電機、主動軸、從動軸和線陣相機,方法包括提供系數k到雙軸線陣相機系統,線陣相機觸發行頻推導;線陣相機每拍照一行,通過移動,多次拍照后拼接成一張圖片。本發明還公開了線陣相機拍照系統、設備及存儲介質。通過本發明的技術方案,可根據伺服電機的輸出脈沖信號來控制線陣相機行拍照頻率,從而使得相機拍照不受速度的影響,在加速、勻速、減速整個過程中,均不會出現圖像拉伸、壓縮異常等情況,從而改善圖像拍攝效果;從動軸隨著主動軸移動,可實現線陣相機的移動行程為2倍主動軸的行程,保證圖像拍照效果的同時加大拍照范圍或區域。






| 附圖說明 |
| 為了更清楚地說明本發明實施例,下面將對實施例或現有技術中描述中需要使用的附圖做簡單說明。 |
| 圖1是本發明的雙軸線陣相機拍照方法的流程示意圖; |
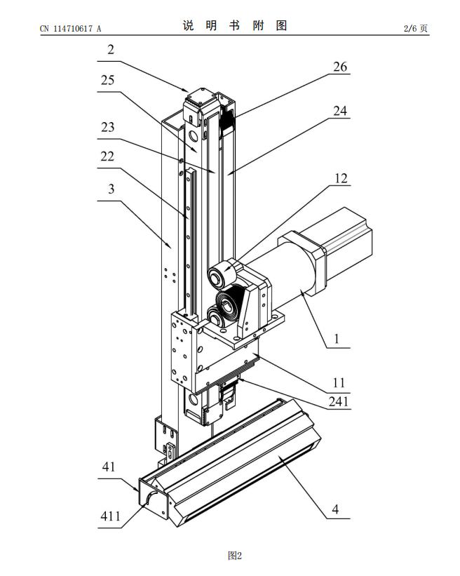
| 圖2是本發明的雙軸線陣相機拍照系統的原始狀態結構示意圖; |
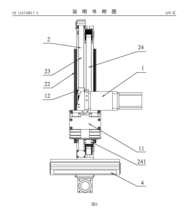
| 圖3是本發明的雙軸線陣相機拍照系統的俯視結構示意圖; |
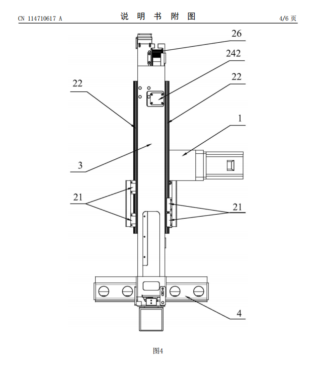
| 圖4是本發明的雙軸線陣相機拍照系統的仰視結構示意圖; |
| 圖5是本發明的雙軸線陣相機拍照系統的側面結構示意圖; |
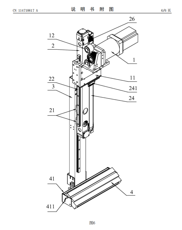
| 圖6是本發明的雙軸線陣相機拍照系統的展開狀態結構示意圖。 |